Η Apple παρουσίασε πρόσφατα τον χωρικό υπολογιστή της πρώτης γενιάς, το Vision Pro. Το ακουστικό AR/VR διαθέτει ένα σύστημα 3D κάμερας και ηχεία με χωρική υποστήριξη ήχου για να χρησιμοποιήσει το τρισδιάστατα σχηματισμένο πλαστικοποιημένο γυαλί ως οπτική επιφάνεια για τις κάμερες και τους αισθητήρες που βλέπουν τον κόσμο. Για την προηγμένη τεχνολογία της, το Vision Pro θα λιανικής πώλησης για $ 3.500.
Ωστόσο, η Apple φαίνεται να εργάζεται για τρόπους για να δημιουργήσει μια φθηνότερη συσκευή Vision Pro ή Head-τοποθετημένη με αφαιρούμενα αξεσουάρ.
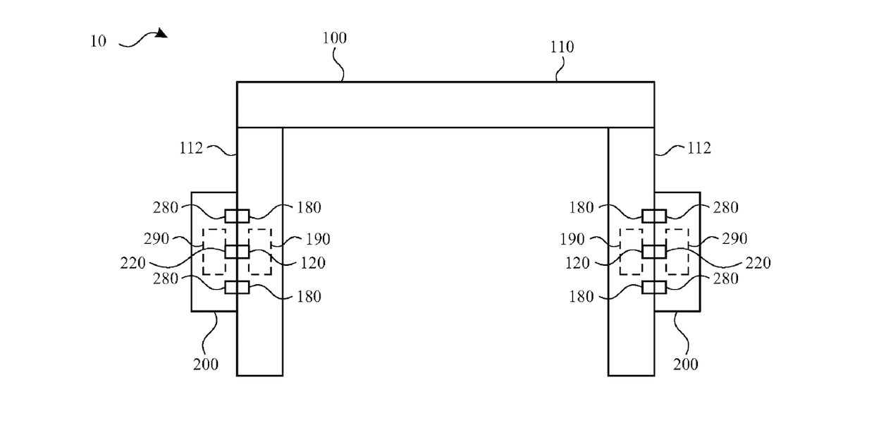
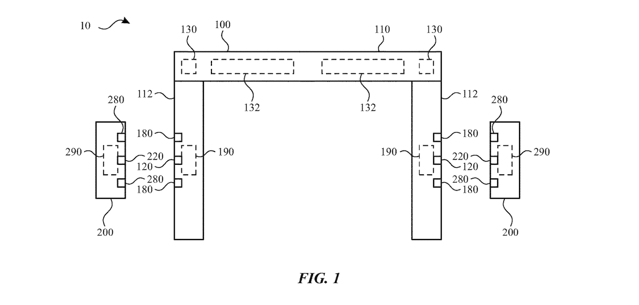
Ένα νέο δίπλωμα ευρεσιτεχνίας που χορηγείται στον τεχνολογικό γίγαντα της Cupertino από το γραφείο ευρεσιτεχνίας και εμπορικών σημάτων των ΗΠΑ αποκαλύπτει ότι η εταιρεία αναπτύσσει αποσπώμενα ή αφαιρούμενα αξεσουάρ για τεχνολογίες με επικεφαλής τις συσκευές με AR ή μικτή πραγματικότητα (AR/VR) όπως κάμερες, μικρόφωνα, ομιλητές και πολλά άλλα.
Τα αφαιρούμενα αξεσουάρ θα μπορούσαν να κάνουν το μελλοντικό όραμα πιο προσιτό και προσαρμόσιμο
Ονέα κατάθεση, εντοπίστηκε απόΠροφανώς μήλοΠεριγράφει αφαιρούμενα αξεσουάρ για μελλοντικές συσκευές με επικεφαλής, όπως το Vision Pro. Η ιδέα πίσω από αποσπώμενα αξεσουάρ όπως οθόνες, μπαταρίες, κάμερες και πολλά άλλα είναι να προσφέρουν εξατομίκευση επιτρέποντάς τους να τροποποιήσουν τα εξαρτήματα ανάλογα με τις ανάγκες ή τις προτιμήσεις τους και να μειώσουν την τιμή της συσκευής.
Οι συσκευές που τοποθετούνται στο κεφάλι, όπως οθόνες με επικεφαλής, ακουστικά, οπαδούς, smartgalsseses, οθόνη Head-up κ.λπ. μπορούν να εκτελέσουν μια σειρά λειτουργιών που καθορίζονται από τα εξαρτήματα (αισθητήρες RG, κυκλώματα και άλλο υλικό) που περιλαμβάνονται με την φορητή συσκευή όπως κατασκευάζεται.
Ωστόσο, ο χώρος, το κόστος και άλλες εκτιμήσεις ενδέχεται να περιορίσουν τη δυνατότητα παροχής κάθε στοιχείου που μπορεί να παρέχει μια επιθυμητή λειτουργία. Για παράδειγμα, διαφορετικοί χρήστες ενδέχεται να έχουν διαφορετικές προτιμήσεις όσον αφορά τα εξαρτήματα και τις λειτουργίες που παρέχονται από μια δεδομένη συσκευή με δυνατότητα κεφαλής.
- Ορισμένοι χρήστες μπορεί να επιθυμούν ορισμένες δυνατότητες, όπως οθόνη υψηλής ανάλυσης και μεγάλη διάρκεια ζωής της μπαταρίας, ενώ άλλοι χρήστες μπορεί να επιθυμούν άλλες καναλιές, όπως μικρότερος παράγοντας μορφής.
- Επιπλέον, ένας δεδομένος χρήστης μπορεί να επιθυμεί διαφορετικές λειτουργίες σε διαφορετικές χρονικές στιγμές. Για παράδειγμα, ένας δεδομένος χρήστης μπορεί να επιθυμεί οθόνη υψηλής ανάλυσης στο σπίτι και μεγάλη διάρκεια ζωής της μπαταρίας όταν βρίσκεται έξω από το σπίτι.

Περισσότερη ανάγνωση:Το Future Apple Watch μπορεί να έχει ζωνές αλλαγής χρώματος - δίπλωμα ευρεσιτεχνίας

Οι φήμης Mills ισχυρίζονται ότι η Apple εργάζεται σε ένα φθηνότερο όραμα δεύτερης γενιάς και ένα γυαλί AR AR. Εάν ο τεχνολογικός γίγαντας ξεκινήσει ένα Vision Pro ή HMD με αφαιρούμενα αξεσουάρ, είναι πιθανό ότι η εταιρεία θα τα πουλήσει ξεχωριστά, πράγμα που μπορεί να μην καταλήξει να είναι φθηνότερο.
