Η Apple μπορεί να εξετάζει το ενδεχόμενο να προσθέσει μια κάμερα στα ρολόγια της Apple επόμενης γενιάς. Ωστόσο, αυτό θα είναι εφικτό μόνο εάν δεν επηρεαστεί η φθορά της συσκευής.
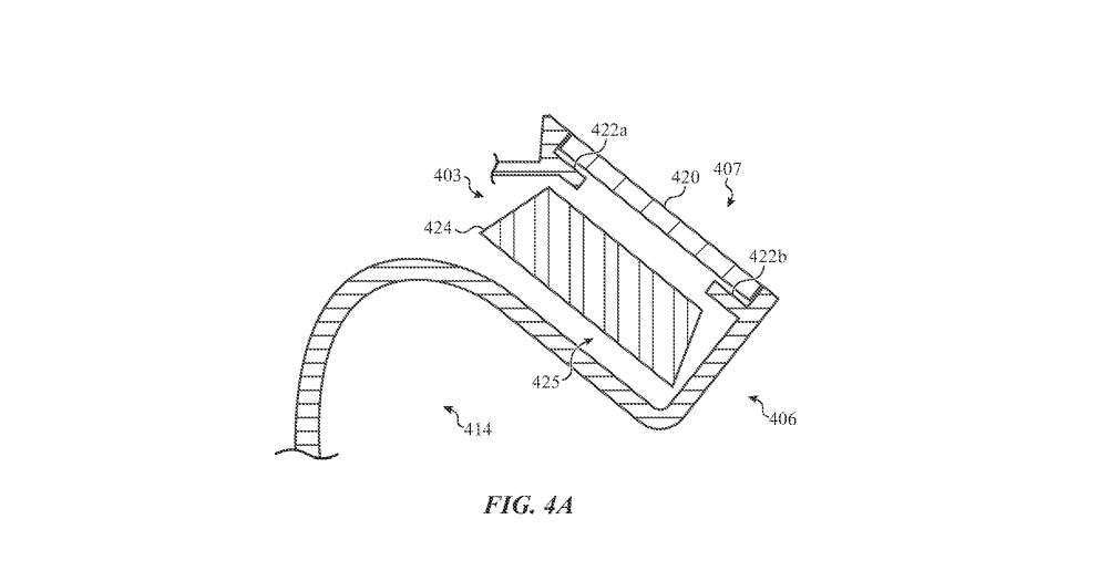
Σύμφωνα με ένααίτηση διπλωμάτων ευρεσιτεχνίας, Η Apple προτείνει να προσθέσει μια μικρή προεξοχή στην κορυφή του ρολογιού για να φιλοξενήσει την κάμερα. Ο σχεδιασμός είναι παρόμοιος με αυτόν του υπάρχοντος WristCam, αλλά η Apple διερευνά τρόπους για να προσθέσει την κάμερα χωρίς να κάνει το ρολόι ογκώδες ή άβολο να φορέσει.
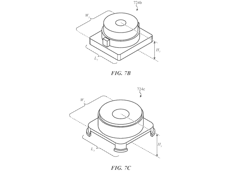
Η προτεινόμενη κάμερα θα έχει υψηλής ποιότητας μέχρι 4K και 60 καρέ ανά δευτερόλεπτο ή μια κάμερα ακόμα με έως και 12MP. Η Apple απορρίπτει τα εξαρτήματα χαμηλής ποιότητας, καθώς "ενδέχεται να μην ανταποκρίνονται στις προσδοκίες ποιότητας ενός χρήστη". Η κάμερα προορίζεται για διάφορους σκοπούς, όπως ταυτότητα του προσώπου, ανίχνευση δακτυλικών αποτυπωμάτων, παρακολούθηση καρδιακού ρυθμού και φωτογραφία.

Η αίτηση διπλωμάτων ευρεσιτεχνίας πιστώνεται σε πέντε εφευρέτες, συμπεριλαμβανομένου του Christopher M. Warner, ο οποίος έχει εργαστεί στο παρελθόν σε μυϊκές ταινίες Apple Watch. Η εταιρεία διερευνά τρόπους για να ενσωματώσει την κάμερα στο ρολόι χωρίς να επηρεάσει τα άλλα εξαρτήματά της, όπως η οθόνη, η μπαταρία και το συγκρότημα κυκλώματος. Επιπλέον, η προεξοχή της κάμερας δεν θα πρέπει να παρεμβαίνει στη γεωμετρία της υποδοχής της μπάντας για να επιτρέψει στους χρήστες να επισυνάψουν και να αποσπάσουν το ιμάντα.
Η κύρια ανησυχία της Apple είναι να προσθέσει νέα χαρακτηριστικά στα προϊόντα της χωρίς να επηρεάσει την εμπειρία του χρήστη. Είναι αβέβαιο πότε η κάμερα θα ενσωματωθεί στα ρολόγια της Apple επόμενης γενιάς, αλλά η εταιρεία διερευνά διάφορες επιλογές. Η Apple μπορεί να αυξήσει το μέγεθος του ρολογιού για να φιλοξενήσει την κάμερα ή να εξερευνήσει άλλες καινοτόμες λύσεις.

Η εταιρεία μπορεί επίσης να μάθει από την επιτυχία του Apple Watch Ultra, το οποίο απέδειξε ότι οι χρήστες είναι πρόθυμοι να φορούν ογκώδεις συσκευές εάν προσφέρουν ένα σαφές όφελος. Στην περίπτωση του Apple Watch Ultra, η εκτεταμένη διάρκεια ζωής της μπαταρίας είναι ένα σημαντικό πλεονέκτημα. Η Apple μπορεί να διερευνήσει παρόμοια οφέλη με τη νέα προσθήκη της κάμερας, όπως η δυνατότητα να ξεκλειδώσετε όλες τις συσκευές της Apple μέσω του αναγνωριστικού προσώπου.
Όπως και με άλλα διπλώματα ευρεσιτεχνίας που κατατέθηκαν από την Apple, είναι σημαντικό να σημειωθεί ότι ο γίγαντας Cupertino Tech Giant αρχειοθετεί πολλές εφαρμογές για νέα τεχνολογία σε εβδομαδιαία βάση, οπότε δεν γνωρίζουμε με βεβαιότητα εάν αυτή η συγκεκριμένη τεχνολογία θα εφαρμοστεί σε ένα μελλοντικό Apple Watch.
Μάθετε περισσότερα:Η Apple Watch για να διαθέτει ενσωματωμένες κάμερες και προχωρημένες δυνατότητες AI
Διαβάστε περισσότερα:
- Το Future Apple Watch μπορεί να έχει ζωνές αλλαγής χρώματος - δίπλωμα ευρεσιτεχνίας
