Η Apple ερευνά έναν τρόπο να χρησιμοποιήσει ένα αφαιρούμενο κλειδί από ένα πληκτρολόγιο MacBook Pro ως ποντίκι ακριβείας. Η ιδέα της χρήσης ενός αφαιρούμενου κλειδιού ως ποντικού δεν εννοείται ως αντικαταστάτης για τα trackPads. Αντ 'αυτού, προσφέρεται ως εναλλακτική λύση για τη μεταφορά ενός ξεχωριστού βοηθητικού με έναν υπολογιστή.
Σήμερα, το γραφείο ευρεσιτεχνίας και εμπορικών σημάτων των ΗΠΑ χορήγησε δίπλωμα ευρεσιτεχνίαςΑριθ. 11.275.451, στο Apple που καλύπτει ένα "αναπτυσσόμενο κλειδί ποντίκι". Η αίτηση ευρεσιτεχνίας προτείνει ότι ένα κανονικό πληκτρολόγιο, όπως ένα σε ένα MacBook Pro, μπορεί να έρθει με ένα ειδικό κλειδί που είναι αφαιρούμενο και μπορεί να λειτουργήσει ως ποντίκι.
"Το αφαιρούμενο κλειδί μπορεί να έχει έναν αισθητήρα θέσης", λέει η εφαρμογή ευρεσιτεχνίας, "[έτσι] λειτουργεί ως συσκευή που δείχνει τον υπολογιστή ... Η αφαιρούμενη δομή κλειδιού μπορεί επομένως να επιτρέψει την άνετη, φορητή και ακριβή είσοδο δείκτη για ένα σύστημα εισόδου υπολογιστή".

"Στα επόμενα χρόνια, το ποντίκι του υπολογιστή έχει υποβληθεί σε μια σειρά καινοτομιών, συμπεριλαμβανομένης της προσθήκης ενός κουμπιού δεξιού και αριστερού κλικ, ενός τροχού κύλισης, οπτικού αισθητήρα, αισθητήρα trackball, αισθητήρα λέιζερ και ασύρματη επικοινωνία στον υπολογιστή υποδοχής", συνεχίζει. "Σε ορισμένες περιπτώσεις, οι φορητές υπολογιστικές συσκευές, όπως οι φορητοί υπολογιστές και οι υπολογιστές tablet, επωφελούνται από τη χρήση μιας συσκευής εισόδου περιφερειακού ποντικιού", λέει η Apple. "Ωστόσο, ο χρήστης στη συνέχεια επιβαρύνεται με τη μεταφορά του ξεχωριστού ποντικιού με τον υπολογιστή και η ξεχωριστή συσκευή μπορεί να είναι περιττή όταν ο υπολογιστής διαθέτει ήδη ενσωματωμένες συσκευές προβολής".
Ο στόχος αυτού του αφαιρούμενου κλειδιού δεν είναι να αντικατασταθεί το trackpad. Αντ 'αυτού, θα ήταν μια επιλογή στη διάθεση των χρηστών που μπορεί να χρειαστούν περισσότερο έλεγχο από ό, τι επιτρέπει παραδοσιακά ένα trackpad.
Προτεινόμενη ανάγνωση:Το Future Apple Vision Pro μπορεί να έρθει με αφαιρούμενα αξεσουάρ αποκαλύπτει δίπλωμα ευρεσιτεχνίας
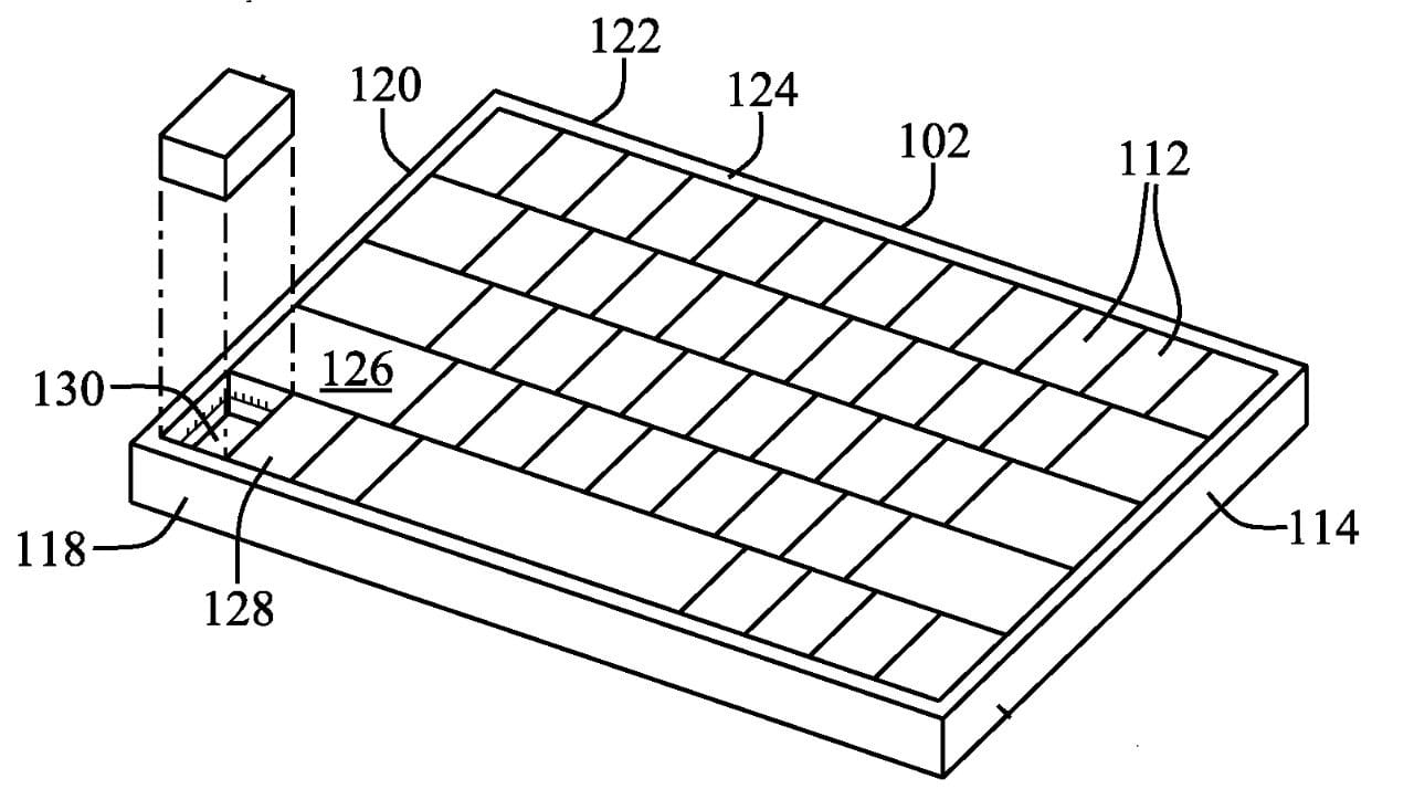
Οι εικονογραφήσεις των διπλωμάτων ευρεσιτεχνίας δείχνουν δύο τρόπους που ένα κλειδί θα μπορούσε να αφαιρεθεί για να χρησιμοποιηθεί ως ποντίκι. Το ένα είναι ένα μόνο κλειδί αποσύνδεσης και ένα άλλο δείχνει ένα τμήμα των κλειδιών που σχηματίζουν το ποντίκι. "Ένα ποντίκι συνήθως ενσωματώνει ένα εργονομικό σχήμα για να ταιριάζει άνετα στο χέρι", λέει η εφαρμογή, καθώς υπογραμμίζει τον τρόπο με τον οποίο οι συσκευές έχουν αλλάξει όλα αυτά τα χρόνια. "Ποιος είναι ένας παράγοντας που έχει διατηρήσει το μέγεθός του σχετικά σταθερό."
Όπως και με άλλα αρχεία της Apple, είναι σημαντικό να σημειωθεί ότι η εταιρεία καταθέτει πολλές εφαρμογές σε εβδομαδιαία βάση, οπότε δεν γνωρίζουμε με βεβαιότητα εάν αυτή η τεχνολογία θα εφαρμοστεί σε μια μελλοντική συσκευή Apple.
Διαβάστε περισσότερα:
- Στο μέλλον, η Apple Mac μπορεί να έρθει μέσα στο Magic πληκτρολόγιο - δίπλωμα ευρεσιτεχνίας
- Το Apple Glass μπορεί να χρησιμοποιηθεί για την πρόσβαση σε διαφορετικά προφίλ και να προσφέρει ένα χαρακτηριστικό απορρήτου - δίπλωμα ευρεσιτεχνίας
- Το Apple Glass ενδέχεται να διαθέτει προβολέα αμφιβληστροειδούς για την εμφάνιση εικόνων στους μαθητές των χρηστών - δίπλωμα ευρεσιτεχνίας
- Τα AirPods ενδέχεται να ανιχνεύσουν την κίνηση και τη θέση των χρηστών κατά τη διάρκεια της Apple Fitness+ Workouts - Patent
- Η Apple θα μπορούσε να αντικαταστήσει τη θήκη MacBook Metal με ένα φτιαγμένο από γυαλί ή κεραμικό - δίπλωμα ευρεσιτεχνίας
- Το δίπλωμα ευρεσιτεχνίας Apple αποκαλύπτει ένα σχεδιασμό όλων των γυαλιών για μελλοντικά iPhone, iPad και MacBook
